 |
|
|
|
|
起重電機之電機負載計算方法 |
發布時間:2022-09-19 23:06:00 點擊: |
|
|
|
1、水平直線運動軸:
2、垂直直線運動軸:
3、旋轉軸運動:
起重電機、YZR起重電機,YZB起重電機專業生產廠家無錫宏達電機2022年9月19日訊 與負載轉矩不同的是,只通過計算即可得到負載慣量的準確數值。不管是直線運動還是旋轉運動,對所有由電機驅動的運動部件的慣量分別計算,并按照規則相加即可得到負載慣量。由以下基本公式就能得到幾乎所有情況下的負載慣量:
1、柱體的慣量
2、運動體的慣量
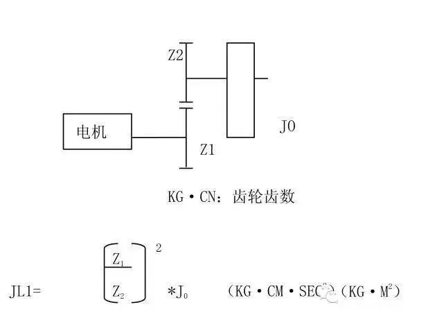
3、 有變速機構時折算到電機軸上的慣量
在電機選用中,除慣量、轉矩之外,另一個注意事項即是電機功率計算。一般可按下式求得:
|
|
上一篇:起重電機之開關磁阻電機及其拓撲結構技術分析
|
|
|
|
|
|
|
|
|
|
|
|
|
|
|
|
|
|
|
|
|
|
|
|
|
|
|
|